欢迎来到广东鑫邦活性炭生产厂家!本公司主营各种材质规格的华体会游戏主页 、柱状活性炭、颗粒活性炭、废气处理活性炭等产品。

免费咨询热线
136-1277-7675活性炭是一种优良的吸附材料,其微孔结构可以有效吸附废水中的有机物质。废水中的有机物质,比如苯、酚等,都是对人类和环境有害的物质,经常会被排放到自然界中,对地下水、土壤和空气造成污染。
活性炭吸附废水中的有机物质可以起到净化废水的作用,是一种简单、有效的处理方法。其原理是利用微孔结构固有的吸附作用,将废水中的有机物质吸附到活性炭表面,从而达到净化水质的效果。
不仅如此,活性炭还具备再生的能力,当活性炭吸附废水中的有机物质饱和后,可以通过加热或者水汽蒸馏等方法再生,降低了使用成本。
活性炭吸附废水中有机物是一种有效的水处理技术,可以净化水质,减少环境污染,为人类和自然环境带来福祉。

活性炭是一种非常有效的吸附材料,它能够有效去除废水中的有害物质。在废水处理过程中,活性炭的应用已经得到了广泛的应用。
活性炭处理废水的工艺流程如下:将废水通过初步处理,去除一些颗粒物和悬浮物质。然后将处理后的废水导入到活性炭处理池中,排放速率控制在适当的水平。废水通过活性炭层,对其中的有机物等污染物进行吸附。随后,在处理过程中向活性炭床注入一定量的氧气,以恢复活性炭的吸附能力。
处理结束后,活性炭的吸附能力会逐渐减弱,因此需要定期更换活性炭。同时,在更换活性炭之前需要进行一系列处理,如清洗,干燥等,以保证活性炭的使用效果。
总而言之,活性炭处理废水的工艺流程在废水处理中具有广泛的应用前景,并且由于其显著的治理效果和高度的环境保护性,已被相关单位广泛采用。

活性炭是一种经过特殊加工处理而形成高度孔隙度的炭材料,常常被用于污水处理中去除污染物。其作用主要有以下三点:
活性炭具有非常大的特殊表面积和强烈的吸附作用,能够吸附水中的有机物质、氯、离子等污染物质,有效地净化水体,降低水中有害物质的含量。
活性炭对水中的异色、异味也具有很好的去除作用,能够消除水体中的异味异色问题,提高水质的观感效果。
活性炭还可被用于处理一些特殊类型的废水,如药物废水、印染废水等。使用活性炭可以高效地去除这些污染物质,防止它们对环境和健康造成更大的伤害。
因此,活性炭在污水处理中发挥着重要的作用。通过使用活性炭,我们可以有效地净化水体,保护环境和健康,为人民群众提供更好的饮用水源。

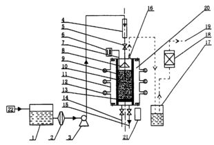
污水活性炭吸附处理装置是一种新型的污水处理设备,其主要基于吸附原理进行操作。该装置由吸附槽、滤池、泵等部件组成,可对污水中的有机物、氨氮、色度等污染物进行有效去除,达到了较高的处理效果。
该装置采用的活性炭具有极强的吸附能力,能够吸附污水中的有害物质,从而净化污水。其优点在于结构简单,操作便捷,处理效率高,同时能够有效降低废水中的COD、BOD和氨氮含量,达到了环保的目的。
与传统的污水处理技术相比,污水活性炭吸附处理装置具有投资少、运营成本低、处理效率高等优势,因此在今后的环保领域中将具有广泛的应用前景。
广东鑫邦活性炭有限公司致力专注于柱状活性炭、颗粒活性炭、粉状活性炭、华体会游戏主页 生产与批发;广泛应用在:垃圾焚烧厂、黄金提取、工业废水处理、污水处理、废气处理、空气净化、喷漆烤漆房等Powered by EyouCmsCopyright © 2002-2021 HTH电竞官方下载 版权所有 粤ICP备2021087261号