欢迎来到广东鑫邦活性炭生产厂家!本公司主营各种材质规格的华体会游戏主页 、柱状活性炭、颗粒活性炭、废气处理活性炭等产品。

免费咨询热线
136-1277-7675活性炭是一种广泛应用于污水处理中的材料。它由许多小孔和大的表面积组成,能够有效吸附有机物和氧化物,从而将其去除。
在污水处理中,活性炭通常用于去除废水中的化学物质,如油、溶剂和药物残留。此外,它还可以有效地去除颜料、重金属和有害气体。活性炭经过处理后,可以用于去除大约100种不同的污染物。
活性炭的优点是其高度的吸附性和可重复使用。它可以通过反复重复使用来减少成本。 此外,与其他污水处理方法相比,它是一种非常环保的方法,因为它不会产生废物。
然而,值得一提的是,使用活性炭有时候会对污水中的细菌和有机物质带来不良影响。 因此,它并不总是被认为是最好的污水处理方法之一。 在使用活性炭时,需要进行适当的监测和维护,以确保其有效性和稳定性。

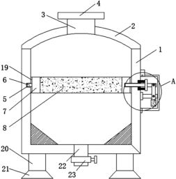
污水处理厂是保护环境和人类健康的重要设施之一,其中活性炭吸附工艺是一种常用的污水处理技术。活性炭可以通过其高度孔隙性和大比表面积来吸附和去除有机物和其他污染物质。
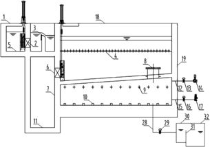
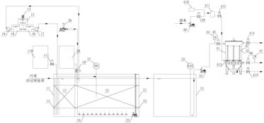
在污水处理厂中,活性炭吸附工艺通常是在生物处理之后进行的。污水通过筛网或其他物理方法去除大颗粒物,然后经过生物处理塔进行微生物降解,进一步减少污染物的含量。污水通常被引入活性炭吸附罐,其中活性炭通过吸附将残余的有机物和其他污染物质从水中去除。
尽管活性炭吸附工艺在污水处理中非常有效,但也需要注意活性炭的使用和替换,以确保其持续有效。饱和的活性炭需要进行替换并进行适当的处理和处置,因为它仍然可以对环境和健康产生影响。
活性炭吸附工艺是一种重要的污水处理技术,它对我们的生存环境和健康都有着重要的保护作用。

活性炭是一种经过特殊处理的炭材料,具有高度的孔隙率和吸附性能,常用于水处理过程中。
一方面,活性炭可吸附有机污染物,如苯、甲苯、氯化物等,使水质净化。此外,活性炭还能吸附水中的异色、异味,如氯、异味、异味物等,可提高水的口感和颜色。
另一方面,活性炭还能吸附水中的重金属离子,如铜、铅等,减少其对人体和环境的危害。由于活性炭本身对水质无影响,所以在水处理过程中使用活性炭是一种环保的处理方法。
活性炭在水处理中的使用广泛,例如在自来水系统中去除异味、在食品工业中去除色味异物、在医疗行业中去除有害物质等。活性炭的出色吸附性能将大大提升水质,保障人民健康!

活性炭是一种优质的吸附材料,用于污水处理领域中具有广泛的应用。它的主要作用是去除污水中的颜色、异味、沉淀物以及有机物等。
在污水处理厂中,污水经过物理、化学和生物处理等多道处理工序后,仍然会残留一些难以去除的化学物质和有机物质。这些物质对水质造成很大的影响,直接影响水的质量和水体的生态环境。此时就需要使用活性炭吸附这些难以处理的污染物。
活性炭的吸附作用,是因为其表面具有大量的微孔和介孔结构,能够让污物进入微孔中并被吸附在表面上。同时,在污物与活性炭的接触过程中,活性炭的强氧化性能也能够加速有机物分解过程,从而达到净化水质的目的。
值得注意的是,活性炭的吸附能力有限,一旦饱和,就需要定期更换。同时,用于处理污水的活性炭需要经过严格的处理和检测,以确保其质量达到标准并最大化发挥其吸附作用。
活性炭作为一种高效的污水处理材料,对净化水体、维护生态环境非常重要,在未来的污水治理中,它将继续发挥重要的作用。
广东鑫邦活性炭有限公司致力专注于柱状活性炭、颗粒活性炭、粉状活性炭、华体会游戏主页 生产与批发;广泛应用在:垃圾焚烧厂、黄金提取、工业废水处理、污水处理、废气处理、空气净化、喷漆烤漆房等 Copyright © 2002-2021 HTH电竞官方下载 版权所有 粤ICP备2021087261号