欢迎来到广东鑫邦活性炭生产厂家!本公司主营各种材质规格的华体会游戏主页 、柱状活性炭、颗粒活性炭、废气处理活性炭等产品。

免费咨询热线
136-1277-7675火电厂是我国能源生产的重要组成部分,但是其排放的二氧化硫和氮氧化物对环境造成了严重污染。为了降低火电厂的排放量,实现绿色能源生产,火电厂活性炭协同脱硫脱硝技术应运而生。
活性炭是一种特殊的炭材料,具有较强的吸附性能。火电厂活性炭协同脱硫脱硝技术是将活性炭和传统的脱硫脱硝技术结合起来,通过将烟气通过活性炭吸附器进行脱硫脱硝,使烟气中的二氧化硫和氮氧化物被活性炭吸附,达到净化环境的目的。
活性炭协同脱硫脱硝技术不仅可以大幅降低火电厂的污染物排放量,同时还可提高燃烧效率,降低能源消耗。其操作简便、维护费用低,被认为是未来火电厂净化技术的主流。
火电厂活性炭协同脱硫脱硝技术在实际应用中已经显示出了较好的技术成果,其应用不断扩大,将对提高我国能源生产的环保水平,推动经济可持续发展产生重要作用。

火电厂脱硫脱硝是指利用化学方法去除火电厂废气中的二氧化硫和氮氧化物。这些废气会对环境和人类健康造成严重的影响,因此需要采取有效的治理措施。
一般的脱硫脱硝工艺流程包括:烟气除尘→脱硫→脱硝→烟囱排放。其中,烟气除尘是为了去除固体颗粒物,防止后续的脱硫和脱硝设备受到阻塞。脱硫主要采用石灰石-石膏法或者海水脱硫法,通过氯化钠和氯酸钠等试剂去除烟气中二氧化硫。脱硝则采用选择性催化还原(SCR)技术或者非选择性催化还原(SNCR)技术,利用氨水或尿素作为还原剂将氮氧化物转化为氮气。
脱硫脱硝工艺的实施可以有效降低火电厂废气的污染物排放,保护环境和人类健康。同时,还可以提高火电厂的能源利用效率和经济效益。

火力发电厂是一种利用化石燃料燃烧产生高温、高压蒸汽来驱动涡轮机发电的设备。但是燃烧产生的二氧化硫和氮气会对环境产生极大的污染,所以在火力发电厂中,需要进行脱硫和脱硝处理。
脱硫是指通过一定的反应将燃烧废气中的二氧化硫转化为硫酸盐,最后通过吸收剂和除尘器净化处理。常用的脱硫方法有湿法脱硫和干法脱硫。湿法脱硫是一种通过喷射喷雾剂、喷淋水雾将二氧化硫从燃烧产生废气中吸收到水中,再与氢氧化钙反应生成硫酸钙的方法。干法脱硫则是利用吸附剂(如活性炭、氧化铁)吸附燃烧废气中的二氧化硫。
脱硝则是利用催化剂或选择性催化还原剂,在燃烧废气中的氮气和氧气反应生成氮氧化物,然后再反应生成氮气和水蒸气。常用的脱硝方法有选择性催化还原法和非选择性催化还原法。选择性催化还原法是利用尿素或氨水作为还原剂,在催化剂的作用下将废气中的氮氧化物还原为氮气。非选择性催化还原法则无需添加还原剂,利用与一些金属催化剂反应,使氮氧化物被还原为氮气和水蒸气。
脱硫脱硝技术的应用可以有效减少火力发电厂对环境的污染,使工业发展与环境保护两者兼顾。

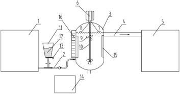
火电厂脱硝是为了降低发电过程中二氧化氮(NOx)排放量,保护环境及健康而采取的一种技术措施。其原理为利用催化剂将烟气中的NOx转化为无毒的氮气和水,从而减少对环境的污染。该系统主要包括氨水喷射系统、脱硝反应器、氧化风机及排放系统等组成。
氨水在氨水喷射系统中被喷洒到烟气中,与NOx发生化学反应,生成硝酸盐和氨基化合物。随后,经过过滤、发泡及烟气加热等处理,将反应产生的硝酸盐和氨基化合物输入到脱硝反应器中,通过反应转化为氮气和水。氧化风机将剩余的氨气氧化为氮气,排放到大气中。
火电厂脱硝适用于燃煤、燃油及天然气等火源的电力工业,其目的是降低NOx的排放浓度以满足国家有关环保法规要求,减少环境污染,同时保障人民群众的健康。
广东鑫邦活性炭有限公司致力专注于柱状活性炭、颗粒活性炭、粉状活性炭、华体会游戏主页 生产与批发;广泛应用在:垃圾焚烧厂、黄金提取、工业废水处理、污水处理、废气处理、空气净化、喷漆烤漆房等Powered by EyouCmsCopyright © 2002-2021 HTH电竞官方下载 版权所有 粤ICP备2021087261号