欢迎来到广东鑫邦活性炭生产厂家!本公司主营各种材质规格的华体会游戏主页 、柱状活性炭、颗粒活性炭、废气处理活性炭等产品。

免费咨询热线
136-1277-7675臭氧催化氧化活性炭是一种新型的空气净化技术,在空气质量问题越来越突出的今天,它得到了广泛关注与应用。
该技术主要是利用氧化剂臭氧对污染物进行氧化分解的作用,将室内的有害气体和异味净化为无害气体和清新空气。而活性炭则是通过其巨大的比表面积和孔径特性,将大量的有害气体吸附在表面上,并进一步通过臭氧的氧化作用,将其转化为无害的CO2和水。
相比于传统的净化技术,臭氧催化氧化活性炭具有更高的净化效能和更广泛的适用范围。它可广泛应用于家居、商业场所、工业制造等领域,为人们提供了更加健康舒适的室内空气环境。
臭氧催化氧化活性炭是一种高效、环保、无毒无害的新型空气净化技术,对提高人们的生活质量和保护环境具有重要意义。

臭氧催化氧化(O3/AC)是一种常见的水处理技术,可用于去除水中有机物和异色体。活性炭具有良好的吸附性能和大的表面积,可以有效去除水中的有机物和异色体。然而,一些研究表明,在O3/AC工艺中,活性炭可能会降低TOC的去除率。这是由于O3/AC过程中,部分活性炭被臭氧氧化而生成了一些水溶性化合物,这些化合物会溶解在水中,造成TOC的升高。此外,臭氧氧化也可能会导致活性炭表面的氧化和损坏,从而降低其去除有机物的能力。因此,在使用O3/AC技术进行水处理时,需要注意活性炭的选择和使用条件,以确保获得最佳的水处理效果。

臭氧氧化活性炭吸附法是一种常见的空气净化技术,将臭氧氧化和活性炭吸附结合使用,以达到去除室内空气中污染物的效果。其优点主要包括:
臭氧氧化活性炭吸附法对于空气中多种污染物都有较好的去除效果,比如甲醛、苯等有害物质,能够有效净化室内空气,提高室内空气质量。
臭氧氧化活性炭吸附法的安装和操作简单方便,适用于许多不同类型的房间和建筑物,能够轻松安装,方便维护。
但是,臭氧氧化活性炭吸附法也存在一些缺点。其中最主要的缺点是臭氧的产生和排放。臭氧在一定浓度下对人体健康也会有影响,并且也有可能生成其他有害气体。因此,在应用时需要控制臭氧的产生量,特别是在孕妇、儿童、老年人等敏感人群居住的房间。
臭氧氧化活性炭吸附法是一种比较有效的空气净化技术,但是在使用时需要注意臭氧产生的问题,同时也需要注意更好地维护和保养设备,以达到更好的净化效果。

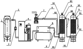
臭氧催化氧化活性炭是一种先进的空气净化技术,通过催化氧化有机物和消除异味等方面具有较强的应用前景。其基本原理是将臭氧与活性炭结合,使活性炭氧化程度提高,从而增强其吸附能力。臭氧催化氧化活性炭工艺包含臭氧发生器、活性炭床、催化剂以及清洗设备等。在臭氧的作用下,催化剂可以使化学反应加速,并在空气中形成自由基等高活性物质,这些高活性物质能够与有机物发生反应,将其转化为二氧化碳和水等无害物质。
与传统的活性炭技术相比,臭氧催化氧化活性炭具有许多优势,如高效、低能耗、安全环保等。其广泛应用于化工、制药、印刷、家居等领域,有效地提高了空气质量和环境保护水平。但也需要注意,在使用过程中需要注意对臭氧和催化剂的处理,避免对人体和环境造成伤害。
臭氧催化氧化活性炭是一种先进的、高效的空气净化技术,具有广泛的应用前景,是当前各行业提高空气质量和环保水平的重要手段之一。
广东鑫邦活性炭有限公司致力专注于柱状活性炭、颗粒活性炭、粉状活性炭、华体会游戏主页 生产与批发;广泛应用在:垃圾焚烧厂、黄金提取、工业废水处理、污水处理、废气处理、空气净化、喷漆烤漆房等 Copyright © 2002-2021 HTH电竞官方下载 版权所有 粤ICP备2021087261号