欢迎来到广东鑫邦活性炭生产厂家!本公司主营各种材质规格的华体会游戏主页 、柱状活性炭、颗粒活性炭、废气处理活性炭等产品。

免费咨询热线
136-1277-7675生物活性炭滤池,又称为生物炭过滤器,是一种采用生物降解技术进行生活污水处理的装置。它的原理是通过生物降解菌群对废水中的有机物和氨氮进行降解和转化,同时利用活性炭对水中的重金属和有机物进行吸附和去除。
生物活性炭滤池是一种简单、稳定、环保的生活污水处理方式,具有体积小、处理效果好、运行成本低等优点。它常常与其它生物处理方式如人工湿地、沼气池等联合使用,能够有效净化生活污水,达到排放标准。相信随着环保意识的不断提高,生物活性炭滤池将会得到更广泛的应用和推广。
需要注意的是,为了保证生物活性炭滤池的正常运行,应避免放入过多的油脂、化学药品和有毒有害物质,定期清洗和更换活性炭等。只要正确使用和维护,生物活性炭滤池对于建筑、餐饮等行业废水的处理有着积极的意义。

污水处理厂的活性炭吸附工艺是一种常见的处理污水的方法。它通过将污水通过一层活性炭,利用活性炭的高吸附能力,将污水中的微小颗粒、有机物质和某些无机离子吸附到活性炭表面,从而达到净化污水的目的。
活性炭是一种石墨化物质,其表面积非常大,可以达到几千平方米甚至更大。这是因为活性炭通过高温炭化和活化处理,使炭材料具有更多的微孔和孔隙,从而形成庞大的表面积。这些小孔和微孔可以吸附污水中的物质,从而净化污水。
污水处理厂的活性炭吸附工艺有很多优点。它可以有效地去除污水中的悬浮物质和大分子有机物。它可以减少污水中的有毒有害物质,如重金属、有机氯化物等。活性炭吸附可以降低污水中的COD和BOD5等指标,从而达到更高的排放标准。
然而,污水处理厂的活性炭吸附工艺也存在一些局限性。主要是由于活性炭吸附饱和后需要进行再生,再生成本较高,另外活性炭吸附对于小分子有机物质吸附效果较差,需要采用其他方法来处理。
综上所述,污水处理厂的活性炭吸附工艺是一种有效的污水处理方法,但需要结合实际情况和科学管理,才能真正发挥其作用。

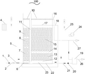
污水活性炭吸附处理装置是一种针对污水处理的设备,它采用活性炭的吸附性能将污水中的有机物、颜色、异味、COD和BOD等污染物质吸附去除,从而达到净化污水的目的。
该装置主要由进水管、反洗管、排泥口、活性炭层和过滤层等组成。当污水经过活性炭层时,其污染物质会被吸附在活性炭表面,并在过滤层中被固定,达到污水净化的效果。而在一定时间后,由于活性炭表面被污染物质覆盖,其吸附效率会逐渐降低,需要进行反洗操作,将污染物质清洗出来。
该装置适用于城市排水、工业污水、生活污水等各种类型污水的处理,可以有效地解决污水净化难题。同时,它还具有操作简单、维护成本低等优点,是一种环保、高效、经济的污水处理设备。

活性炭滤池工艺流程是一种常见的水处理工艺,主要用于去除水中的有机物、异味、色度等,达到净化水质的目的。工艺流程一般包括预处理、滤池、后处理等环节。
预处理是为了去除水中的杂质和颗粒物。这个过程包括沉淀池和一些物理或化学处理。沉淀池可以让水中的大颗粒物沉淀到池底,减少后续滤池的负担。物理或化学处理则主要包括净水器和加药机等设备,用于去除水中的悬浮物、杂质和细菌。
进入滤池过程。活性炭滤池主要由活性炭和滤砂层组成。水从上方流入滤池,经过活性炭和滤砂层的过滤,达到过滤净化效果。活性炭对水中有机物和异味有很好的吸附作用,滤砂则能够去除水中的悬浮物和部分细菌。滤池可分为单层滤、多层滤、反洗等。
后处理是为了二次保护水质。后处理通常包括加药、消毒等环节。在活性炭滤池过程中,若有机物较多,则建议加入适量的氯气进行消毒和去臭。
活性炭滤池工艺流程是一种较为成熟的水处理技术,平时我们饮用的自来水中,很多时候也采用了类似的处理工艺来保证水质的安全和可靠。
广东鑫邦活性炭有限公司致力专注于柱状活性炭、颗粒活性炭、粉状活性炭、华体会游戏主页 生产与批发;广泛应用在:垃圾焚烧厂、黄金提取、工业废水处理、污水处理、废气处理、空气净化、喷漆烤漆房等 Copyright © 2002-2021 HTH电竞官方下载 版权所有 粤ICP备2021087261号