欢迎来到广东鑫邦活性炭生产厂家!本公司主营各种材质规格的华体会游戏主页 、柱状活性炭、颗粒活性炭、废气处理活性炭等产品。

免费咨询热线
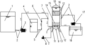
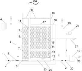
136-1277-7675臭氧活性炭污水厂是一种先进的污水处理工艺,它将臭氧气体和活性炭材料结合使用,可以有效地去除水中的有机物、氨氮和色度等污染物。该工艺具有处理效率高、运行稳定、成本低等优点,因此在城市污水处理领域得到了广泛应用。
臭氧活性炭污水厂的处理过程主要分为两个阶段:第一阶段是臭氧接触氧化,通过将污水和臭氧气体充分接触,在氧化反应的作用下分解有机物,将它们转化为二氧化碳和水等无害物质;第二阶段是活性炭吸附,将臭氧氧化后遗留的有机物和其他难以氧化的污染物吸附到活性炭颗粒内部,去除污染物。
臭氧活性炭污水厂的技术创新和应用推广,不仅在提高城市污水处理效率和水质安全方面做出了重要贡献,同时还可以减少对环境的不良影响,使城市污水得到更好的治理和管理。

臭氧处理污水是一种新型的水处理技术,它的原理是利用臭氧的氧化性能,对水中的有机物、重金属和其他污染物进行氧化分解,达到净化水质的目的。
臭氧的处理过程主要分为两步,即氧化反应和还原反应。臭氧会通过氧化反应将水中的有机物转化为较小的分子,例如二氧化碳和水。接着,臭氧还会通过还原反应将有害的污染物如重金属离子等还原为不活性化合物,从而消除其毒性。
在臭氧处理污水时,需要使用臭氧发生器产生足够的臭氧气体。臭氧气体会被导入到污水处理池中,进行氧化反应和还原反应。处理完毕后,臭氧气体会被和水一起排放到污水处理设施之外。
臭氧处理污水是一种高效、环保的水处理技术,尤其适用于一些难以处理的废水和有害的污染物。

臭氧和活性炭都是常用的空气净化剂,它们可以各自发挥着很好的净化效果,但是结合使用时,却能带来更强大的净化效果。
臭氧可以有效地除去空气中的细菌、病毒和异味等有害物质,而活性炭则能够吸附和过滤掉空气中的有机化合物和微粒污染物。这两种净化方式的结合,能够有效地增强对空气污染物的净化能力,让居室清新怡人。
臭氧和活性炭结合使用时,能够有效地去除甲醛、苯等有害物质。臭氧能够分解甲醛等有害气体,活性炭则可吸附甲醛等有害物质,双管齐下,确保空气质量的安全。
臭氧和活性炭结合使用还具有杀菌消毒的作用,臭氧可以有针对性地杀灭有害菌群,而活性炭也可以吸附和除去污染物中的细菌和病毒,从而净化空气中的微生物污染。
综上所述,臭氧和活性炭结合使用的好处是多方面的,它们共同为我们提供了一个更加健康、舒适的居住环境。

臭氧是一种强氧化剂,可以用于处理废水中的难以降解有机物。臭氧催化氧化技术是一种先进的废水处理技术,具有高效、环保、经济等优点。
在臭氧催化氧化处理废水过程中,臭氧被引入到溶解氧较高的水中,与废水中有机物反应,生成气态氧化产物、水、二氧化碳等。同时,臭氧也可以加速废水中有机物分子内部的氧化反应,进一步降解有机物。
相比传统的化学氧化法,臭氧催化氧化技术具有更高的效率和更少的副产物。该技术不需要添加其他化学试剂,臭氧的生成和利用都是通过设备本身实现的。此外,臭氧催化氧化还可以消除废水中的异味和色度。
由于臭氧催化氧化技术具有高效、环保、经济等优点,因此在工业废水、生活污水、医药废水等领域被广泛应用。未来,臭氧催化氧化技术还有望实现更高效的废水处理和更广泛的应用。
广东鑫邦活性炭有限公司致力专注于柱状活性炭、颗粒活性炭、粉状活性炭、华体会游戏主页 生产与批发;广泛应用在:垃圾焚烧厂、黄金提取、工业废水处理、污水处理、废气处理、空气净化、喷漆烤漆房等 Copyright © 2002-2021 HTH电竞官方下载 版权所有 粤ICP备2021087261号