欢迎来到广东鑫邦活性炭生产厂家!本公司主营各种材质规格的华体会游戏主页 、柱状活性炭、颗粒活性炭、废气处理活性炭等产品。

免费咨询热线
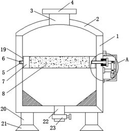
136-1277-7675惠州活性炭过滤装置供应商是专业提供活性炭过滤装置产品的企业。活性炭过滤装置是一种常用的空气净化设备,通过活性炭的吸附作用,有效去除空气中的有害气体和异味,提供干净、健康的室内空气。
这些供应商通常拥有先进的生产设备和技术专家团队,能够提供高质量的活性炭过滤装置产品。他们的产品广泛应用于家庭、办公室、商店、医院等各类场所,能够有效净化空气,改善室内环境质量。
除了供应活性炭过滤装置产品,这些供应商还提供相关的售后服务。他们会为客户提供产品安装指导、使用技术咨询和定期维护保养等服务,以确保装置持续有效运作。
选择一个可靠的活性炭过滤装置供应商尤为重要。优质的供应商通常会关注产品的质量和性能,并提供符合市场需求的创新产品。他们还会了解客户的需求,根据实际情况提供个性化的解决方案。
随着人们对室内空气质量要求的不断提高,活性炭过滤装置供应商在市场上的地位愈发重要。他们的产品不仅能够提供健康舒适的室内环境,还能有效减少空气污染带来的健康风险。
惠州活性炭过滤装置供应商是为大众提供高品质活性炭过滤装置产品的专业企业。他们致力于改善室内空气质量,提供健康环保的生活环境。

附近活性炭过滤器生产厂家有哪些
活性炭过滤器是一种常见且重要的水处理设备,广泛应用于饮用水、工业用水等领域。在附近地区,有许多优秀的活性炭过滤器生产厂家,下面为大家介绍几家值得关注的厂商。
首先是XXX公司,该公司位于附近市区,专注于活性炭过滤器的研发、生产和销售。公司产品质量稳定且价格合理,得到了众多客户的认可。他们的活性炭过滤器结构合理,过滤效果好,能有效去除水中的杂质和异味。
另外,XXX集团也是值得关注的活性炭过滤器生产厂家。该公司拥有先进的生产设备和技术团队,生产的活性炭过滤器在市场上享有盛誉。他们的产品无论是在质量还是性能上都具备竞争力,并提供了一流的售后服务。
此外,还有XXX有限公司,他们也是附近活性炭过滤器生产厂家中的佼佼者。该公司成立多年来,一直以卓越的品质和可靠的性能赢得了广大用户的青睐。他们的活性炭过滤器使用寿命长,维护方便,并且能够根据客户需求定制不同规格的产品。
当然,以上只是举例,附近还有许多其他活性炭过滤器生产厂家,可以依据自己具体的需求和条件进行选择。
附近的活性炭过滤器生产厂家众多,他们在技术、产品质量、售后服务等方面各有特点。希望大家在购买时能够综合考虑,并选择适合自己需求的厂家,以获得最好的体验和效果。

惠州活性炭过滤装置供应商有哪些
惠州作为中国的经济特区之一,在环境保护方面一直非常重视。活性炭过滤装置作为一种常见的空气净化设备,也在该地区得到了广泛应用。那么,惠州活性炭过滤装置供应商有哪些呢?
惠州市绿可环保科技有限公司是一家专业从事空气净化设备研发、生产和销售的企业。该公司有多年的经验和技术积累,在活性炭过滤装置领域拥有较高的知名度和市场份额。他们的产品质量稳定可靠,深受用户的好评。
惠州市康慧科技有限公司也是一家活性炭过滤装置供应商。他们致力于为客户提供优质的产品和服务,拥有一支专业的研发团队和完善的售后服务体系。公司的产品种类齐全,满足了不同用户的需求。
此外,惠州市普瑞盛实业有限公司也是一家值得信赖的活性炭过滤装置供应商。他们拥有先进的生产设备和严格的质量控制体系,为客户提供高品质的产品。公司还通过独特的技术创新不断提升产品的性能和降低成本,深受市场的认可。
除了上述提到的供应商,还有一些其他有实力的企业也在惠州地区提供活性炭过滤装置。用户在选择供应商时,可以根据自己的需求和实际情况进行评估和比较,选择最合适的合作伙伴。
总结一下,惠州活性炭过滤装置供应商有绿可环保科技、康慧科技以及普瑞盛实业等。这些供应商通过不断的技术创新和优质的产品质量,在行业内树立了良好的声誉。用户可以根据自己的需求选择合适的供应商,以确保获得最佳的产品和服务。

惠州市是广东省境内的一个经济发达地区,拥有着众多的活性炭过滤装置供应商。活性炭过滤装置是一种利用活性炭对空气、水等进行过滤的设备,具有吸附能力强、过滤效果好等特点。
在惠州市,有许多专业的活性炭过滤装置供应商可以提供优质的产品和服务。以下是一些比较知名的供应商名单。
惠州市奥普科技有限公司是一家专业从事活性炭过滤装置研发生产的企业。公司拥有先进的生产设备和技术团队,能够提供高品质的活性炭过滤装置,满足不同客户的需求。
惠州市迪沙旺环保科技有限公司也是一家活性炭过滤装置供应商。公司致力于环保科技的研发和应用,拥有一支经验丰富的研发团队,并具有强大的生产能力。
此外,惠州市苏寒环保设备有限公司是一家专注于活性炭过滤装置的生产和销售的企业。公司以产品质量为核心竞争力,不断进行技术创新和质量改进,以满足市场需求。
除了以上提到的几家供应商,惠州市还有一些其他的活性炭过滤装置供应商,如惠州市阿达科技有限公司、惠州市瑞智科技有限公司等,它们也都在该领域内具有一定的影响力。
综上所述,惠州市拥有众多优秀的活性炭过滤装置供应商,它们能够为客户提供高品质、高效的活性炭过滤装置产品,并满足不同行业的需求。无论是空气净化、水处理还是其他领域的过滤需求,都可以找到适合的供应商进行合作。
广东鑫邦活性炭有限公司致力专注于柱状活性炭、颗粒活性炭、粉状活性炭、华体会游戏主页 生产与批发;广泛应用在:垃圾焚烧厂、黄金提取、工业废水处理、污水处理、废气处理、空气净化、喷漆烤漆房等 Copyright © 2002-2021 HTH电竞官方下载 版权所有 粤ICP备2021087261号