欢迎来到广东鑫邦活性炭生产厂家!本公司主营各种材质规格的华体会游戏主页 、柱状活性炭、颗粒活性炭、废气处理活性炭等产品。

免费咨询热线
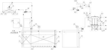
136-1277-7675深圳活性炭过滤装置是一种先进的水处理设备,主要用于去除水中的有机物、颜色、异味等污染物。它由活性炭过滤器和多级过滤系统组成。
活性炭过滤器是一种利用活性炭吸附特性进行水处理的装置。活性炭是一种多孔性材料,能够吸附各种有机物分子,如化学污染物、药物残留等。通过将水流引入活性炭过滤器中,水中的有害物质被吸附在活性炭的孔隙中,从而达到净化水质的目的。
深圳活性炭过滤装置还包括多级过滤系统,用于进一步去除水中的杂质。多级过滤系统一般由粗滤器、砂滤器和微孔滤器组成。粗滤器主要用于去除大颗粒杂质,如泥沙、悬浮物等;砂滤器则用于去除细小颗粒的杂质,如细颗粒泥沙和铁锈颗粒;微孔滤器则可以去除更小的颗粒物质,如细菌、病毒等。
深圳活性炭过滤装置具有广泛的应用领域。它可以应用于饮用水处理、工业废水处理、游泳池水处理等。通过去除水中的有机物和污染物,活性炭过滤装置可以改善水的味道和透明度,保证水质安全。
深圳活性炭过滤装置是一种高效的水处理设备,具有去除有机物、颜色和异味的优点。它的应用可以帮助提高水质,保障水源安全。

深圳活性炭过滤装置生产厂家是指在深圳地区从事活性炭过滤装置生产的企业。活性炭过滤装置是一种常见的污水处理设备,具有过滤效果好、操作方便、维护成本低等特点。在污水处理过程中,活性炭过滤装置可以有效去除水中的颜色、味道、异味、残留药物、有机物和重金属等有害物质。
深圳是我国改革开放的重要窗口城市,发展迅速,环境保护意识越来越高。作为环保产业的一部分,活性炭过滤装置的需求量也随之增长。深圳活性炭过滤装置生产厂家充分利用先进技术和设备,致力于提供高品质的产品和优质的服务。他们拥有一支技术精湛、经验丰富的团队,能够根据客户的需求量身定制活性炭过滤装置,并确保产品的稳定性和可靠性。
深圳活性炭过滤装置生产厂家不仅在国内市场拥有良好的口碑,还将产品远销海外,树立了良好的国际形象。他们不仅注重产品的质量,也积极关注环境保护与可持续发展。通过不断创新和改进,深圳活性炭过滤装置生产厂家不仅为客户提供优质产品,也为环境保护事业作出了积极贡献。
深圳活性炭过滤装置生产厂家在环保产业中扮演着重要的角色。他们的产品不仅能够有效解决水污染问题,还为社会的可持续发展做出了积极贡献。随着环保意识的不断提高,相信深圳活性炭过滤装置生产厂家将能够在未来取得更大的发展。

深圳活性炭过滤装置有限公司是一家专注于研发、生产和销售活性炭过滤装置的企业。公司成立于2005年,总部位于深圳市,是中国领先的活性炭过滤装置制造商之一。
活性炭是一种具有高度吸附能力的吸附剂,可以有效去除水中的有机物、异味和重金属等污染物。深圳活性炭过滤装置有限公司注重技术创新和产品研发,团队拥有丰富的行业经验和专业知识。公司与国内外多个科研机构合作,不断推出具有自主知识产权的高效活性炭过滤装置产品,以满足市场的需求。
深圳活性炭过滤装置有限公司产品广泛应用于水处理、空气净化、食品饮料、化工、制药等领域。产品质量可靠,性能稳定,广受用户好评。公司秉承“质量为先、客户至上”的经营理念,努力为用户提供优质的过滤装置和完善的售后服务。
深圳活性炭过滤装置有限公司具备一流的生产设备和完善的生产管理体系,严格按照ISO9001质量管理体系进行生产运作。公司拥有一支技术过硬、经验丰富的研发团队和销售团队,能够及时响应客户需求并提供专业的技术支持。
未来,深圳活性炭过滤装置有限公司将继续加强科技创新和市场开拓,不断完善产品的品质和性能,为客户提供更好的过滤解决方案。以“绿色环保、健康生活”为宗旨,为推进社会可持续发展贡献自己的力量。

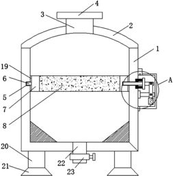
活性炭过滤器是一种常见的水处理设备,能够有效去除水中的有机物、异味和颗粒物,提供干净清澈的水源。下面是活性炭过滤器的操作要点。
正确安装过滤器是关键。将过滤器与水源管道相连接,确保连接接口紧密,以避免水泄漏。在安装过程中,注意读取和遵守生产说明书,确保操作正确。
定期更换活性炭滤芯。活性炭滤芯是过滤器的核心部件,随着使用时间的增加,滤芯会逐渐饱和,影响过滤效果。一般情况下,建议每3-6个月更换一次滤芯,具体更换周期还需要根据水质和使用情况而定。
另外,在日常使用中,要注意保持过滤器的清洁。定期清洗过滤器的外表面和密封件,去除附着的污垢和积尘。同时,避免暴露在阳光下和高温环境中,以免过滤器材料老化和功能减弱。
定期检查和维护过滤器。定期检查滤芯和连接管道是否出现渗漏或堵塞,若有异常情况及时清理或更换。并定期进行水质检测,以确保过滤器的正常工作。
活性炭过滤器的操作要点包括正确安装,定期更换滤芯,保持清洁和定期维护等。遵循这些要点,能够确保活性炭过滤器的长期有效运行,提供干净健康的水源。
广东鑫邦活性炭有限公司致力专注于柱状活性炭、颗粒活性炭、粉状活性炭、华体会游戏主页 生产与批发;广泛应用在:垃圾焚烧厂、黄金提取、工业废水处理、污水处理、废气处理、空气净化、喷漆烤漆房等Powered by EyouCmsCopyright © 2002-2021 HTH电竞官方下载 版权所有 粤ICP备2021087261号