欢迎来到广东鑫邦活性炭生产厂家!本公司主营各种材质规格的华体会游戏主页 、柱状活性炭、颗粒活性炭、废气处理活性炭等产品。

免费咨询热线
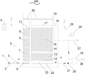
136-1277-7675深圳活性炭滤池是一种常用于水处理和空气净化的设备。活性炭是一种具有高度吸附能力的材料,能够吸附和去除水和空气中的杂质和污染物。
深圳活性炭滤池通常由一个容器和填充有活性炭的滤料层组成。当水或空气通过滤池时,活性炭会吸附其中的有机物、重金属、氯气、异味等污染物,显著改善水质和空气质量。
活性炭的吸附原理是靠其多孔的结构和大表面积。其表面积可达到几千平方米/克,可以有效地吸附和集中大量的污染物分子。因此,深圳活性炭滤池在水处理和空气净化中被广泛应用。
在水处理中,活性炭滤池可以去除水中的氯、有机溶剂、药物残留等。在空气净化中,活性炭滤池可以去除甲醛、苯、二氧化硫等有害气体。
值得注意的是,活性炭需要定期更换,以保证其吸附能力和效果。同时,在使用过程中也要避免活性炭滤池过早饱和,可以通过调节水流量或者控制排放频率来延长其使用寿命。
深圳活性炭滤池是一种高效、便捷的水处理和空气净化设备。它能够帮助人们改善生活环境,保障饮用水的安全,净化室内空气,提高人们的生活质量。

活性炭滤池是一种常见的水处理设备,用于去除水中的有机物和异味。但是,滤池中的活性炭滤料并不是永久使用的,需要定期更换。
活性炭滤料的更换时间取决于两个主要因素:滤池中水的质量和滤料的使用寿命。如果水中有较高的浊度或有机物含量,则活性炭滤料的寿命可能会更短。这是因为活性炭滤料更容易被污染,导致过滤效果下降。活性炭滤料的使用时间也是决定更换周期的因素。一般来说,滤料在3-6个月之后就需要更换,以确保其过滤效果。
为了确定活性炭滤料更换的最佳时间,可以定期进行水质测试和滤料寿命评估。通过测试水中的浊度、有机物含量和PH值等指标,可以了解滤料的工作状态。当浊度超过一定限度、有机物吸附能力下降或者PH值变化时,就说明滤料需要更换。
定期检查滤料表面也是一种判断滤料寿命的方法。如果滤料的颜色变深或者出现粉尘沉积物,就说明滤料已经饱和,需要更换。此外,如果滤料的颗粒状状况变得不均匀或气味产生变化,也可能是滤料即将失效的迹象。
综上所述,活性炭滤池滤料的更换时间应根据水质和滤料寿命来确定。一般建议3-6个月更换一次滤料,同时定期进行水质测试和滤料表面检查,以确保滤池的正常运行和优质的水处理效果。

活性炭滤池作为一种常见的水处理设备,具有重要的作用和去除机理。
活性炭滤池能够去除水中的异味和有害物质。活性炭是一种多孔的碳材料,具有很大的比表面积和特殊的吸附能力。它能够有效吸附水中的有机物、氯化物、重金属离子等,从而去除水中的异味和有害物质。
活性炭滤池还能够去除水中的色度和浊度。水中的色度和浊度主要是由悬浮物和胶体粒子引起的。通过活性炭滤池的过滤作用,可以有效去除水中的悬浮物和胶体粒子,使水变得清澈透明。
此外,活性炭滤池还能够去除水中的余氯和有机溶解物。在水处理过程中,常常使用氯化物作为消毒剂来杀灭细菌和病毒。然而,余氯会产生异味和对人体健康有害。活性炭滤池中的活性炭能够很好地吸附余氯和有机溶解物,提高水的品质。
活性炭滤池的去除机理主要是通过吸附和微生物附着两种方式。吸附是指目标物质在活性炭颗粒表面发生物理或化学吸附,从而被固定下来。微生物附着则是指活性炭颗粒表面的微生物在水中生长繁殖,吸附和降解有机物质。
综上所述,活性炭滤池通过吸附和微生物附着的方式,能够有效去除水中的异味、有害物质、色度、浊度、余氯和有机溶解物,提高水的质量和口感。在日常生活和工业生产中,活性炭滤池被广泛应用于饮用水净化、游泳池水处理、酿造过程中等多个领域。

深圳活性炭滤池生产厂家,是专门生产活性炭滤池的企业。活性炭滤池是一种常见的水处理设备,用于去除水中的污染物质、异味和色泽。深圳作为中国经济特区的先行者,活性炭滤池生产厂家在这里蓬勃发展。
深圳活性炭滤池生产厂家注重产品质量和研发创新。他们拥有一支技术过硬、经验丰富的研发团队,不断研究和开发新型的活性炭滤池产品,以满足市场的需求和客户的要求。同时,他们也采用先进的生产设备和工艺,确保产品的品质和性能。
深圳活性炭滤池生产厂家的产品得到了广泛的应用和认可。活性炭滤池被广泛应用于饮用水、工业废水处理、污水处理和空气净化等领域。它们可以高效地去除水中的重金属、有机物、残留药品和细菌等有害物质,提供清洁健康的水资源和舒适的室内环境。
随着人们对水质和环境的重视,深圳活性炭滤池生产厂家所生产的产品将有更加广阔的市场前景。他们将继续致力于产品的质量提升和技术创新,为社会提供更好的水处理解决方案。
深圳活性炭滤池生产厂家作为一家专业的企业,将继续以品质为基础,以创新为动力,为社会提供优质的活性炭滤池产品和解决方案。
广东鑫邦活性炭有限公司致力专注于柱状活性炭、颗粒活性炭、粉状活性炭、华体会游戏主页 生产与批发;广泛应用在:垃圾焚烧厂、黄金提取、工业废水处理、污水处理、废气处理、空气净化、喷漆烤漆房等 Copyright © 2002-2021 HTH电竞官方下载 版权所有 粤ICP备2021087261号