欢迎来到广东鑫邦活性炭生产厂家!本公司主营各种材质规格的华体会游戏主页 、柱状活性炭、颗粒活性炭、废气处理活性炭等产品。

免费咨询热线
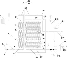
136-1277-7675东莞活性炭滤池是一种常用的水处理设备,它利用活性炭的吸附作用来去除水中的杂质和污染物。在东莞地区,由于工业发展和人口增加,对水质的要求越来越高。活性炭滤池因其高效过滤和优良的水质处理效果,得到了广泛应用。
活性炭滤池的原理是通过活性炭颗粒的大比表面积和微孔结构,使水中的有机物质、异味物质、余氯、重金属离子等污染物被吸附进活性炭中,从而达到净化水质的目的。同时,活性炭滤池还可有效去除水中的颜色、浑浊度等不良因素,改善水质。
东莞活性炭滤池具有操作简单、安装便捷、使用寿命长等特点,适用于各类水质处理场合,如家庭饮用水、工业废水处理、游泳池水处理等。它不仅可以帮助我们改善生活水质,提供健康安全的饮用水,也可以保护机械设备、延长使用寿命。
然而,需要注意的是,活性炭滤池的滤料需要定期更换,否则会影响滤水效果。此外,选择适合的滤料也很重要,不同的水质需要使用不同种类的活性炭滤料,以达到最佳的处理效果。
东莞活性炭滤池是一种重要的水处理设备,可以帮助我们提升水质,改善生活环境。我们应该重视水质问题,积极采取措施保护水资源,确保人民的健康和生活质量。

活性炭滤池滤料多长时间更换
活性炭滤池是一种常用于水处理的设备,它通过活性炭滤料的吸附作用,能够有效去除水中的有机物、异味和重金属等污染物质。然而,随着时间的推移,活性炭滤料的吸附饱和度会逐渐增加,其去除污染物的能力也会下降,因此需要定期更换滤料,以保证水质的良好。
那么,活性炭滤池滤料的更换时间是多久呢?一般情况下,活性炭滤料的更换周期在6个月至1年之间。具体的更换时间可以根据以下几个因素来确定:
1. 使用频率:活性炭滤池的使用频率是决定更换周期的重要因素之一。如果水处理设备被频繁使用,滤料的吸附饱和度会更快增加,因此可能需要缩短更换周期。
2. 水质情况:水质的污染程度也是决定更换周期的重要因素之一。如果水质较差,含有更多的有机物和污染物,活性炭滤料可能更快饱和,因此可能需要缩短更换周期。
3. 滤池容量:滤池的容量大小也会影响更换周期。较大容量的滤池,其活性炭滤料的使用寿命可能会更长,因此更换周期可能相对较长。
值得注意的是,以上仅为参考,具体的更换周期还应根据实际情况进行评估。建议使用者在使用活性炭滤池时,定期检查滤料的吸附能力,如发现水质净化效果变差或水味变异,就应及时更换滤料。
活性炭滤池滤料的更换时间并非一成不变,而是需要根据使用频率、水质情况和滤池容量等因素进行综合评估。定期检查滤料的吸附能力,及时更换滤料,才能保证水质的可靠净化效果。

活性炭滤池的作用及去除机理
活性炭滤池是一种常见的水处理设备,它采用活性炭作为过滤介质,能有效去除水中的有机物、氯、重金属等污染物。其作用和去除机理如下所述。
活性炭滤池主要起到物理过滤的作用。活性炭有很多微孔和孔隙结构,可以通过吸附的方式将水中的杂质、颗粒物质等直接捕获下来,从而净化水质。这种物理过滤的机制类似于海绵吸水,通过吸附过程能够有效去除直径大于活性炭孔径的颗粒。
活性炭滤池还能发挥化学吸附的作用。活性炭上的微孔和孔隙结构能够吸附水中的有机物质,如有机溶剂、油脂等。这是因为活性炭具有很强的吸附能力,能够吸附有机物分子的表面,并与之发生作用从而使其从水中被脱除。所以,活性炭滤池可以有效去除水中的异味、颜色和有机污染物。
活性炭滤池的去除机理还涉及化学反应的过程。活性炭能与氯、重金属等物质发生化学反应,使之转化为无害的物质。例如,活性炭可以与氯发生反应生成氯化氢,从而去除水中的余氯。
综上所述,活性炭滤池的作用和去除机理主要包括物理过滤、化学吸附和化学反应等。通过这些作用和机理,活性炭滤池能够高效地去除水中的有机物、氯、重金属等污染物,实现水质净化和提升。因此,活性炭滤池在水处理中起到重要的作用,广泛应用于饮用水净化、工业废水处理等领域。

东莞是中国著名的制造业城市,拥有众多的生产企业,其中活性炭滤池生产企业也居多。活性炭滤池以其卓越的过滤性能和广泛的应用领域,在水处理、空气净化、工业排放等方面发挥着重要作用。
东莞的活性炭滤池生产企业在产品的研发、生产和销售方面都有着丰富的经验和专业的技术团队。他们可以根据不同客户的需求,设计和生产出适应不同场景的活性炭滤池产品。无论是家庭用的净水器、空气净化器,还是大型的工业废气处理设备,都可以找到适合的活性炭滤池产品。
东莞的活性炭滤池生产企业还注重产品的质量和环保性能。他们选用优质的活性炭材料,保证产品过滤效果的同时,尽量减少对环境的污染。企业也积极推行可持续发展理念,更加注重节能减排,推广绿色生产方式,为客户提供优质的产品的同时,也为保护生态环境作出贡献。
东莞的活性炭滤池生产企业在市场竞争中也展现出强大的实力。他们充分利用本地的制造业优势,形成了完整的供应链系统,降低了生产成本,提高了产品的竞争力。同时,他们还通过技术创新和产品升级来提高产品附加值,满足不同客户的需求,并在市场上树立了良好的品牌形象。
东莞的活性炭滤池生产企业凭借专业的技术团队、高质量的产品和绿色的生产理念,成为了行业的领军企业。他们在为客户提供优质产品的同时,也在为环境保护做出积极贡献。相信随着技术的进步和市场的需求,东莞的活性炭滤池生产企业会在未来发展中取得更大的成就。
广东鑫邦活性炭有限公司致力专注于柱状活性炭、颗粒活性炭、粉状活性炭、华体会游戏主页 生产与批发;广泛应用在:垃圾焚烧厂、黄金提取、工业废水处理、污水处理、废气处理、空气净化、喷漆烤漆房等 Copyright © 2002-2021 HTH电竞官方下载 版权所有 粤ICP备2021087261号