欢迎来到广东鑫邦活性炭生产厂家!本公司主营各种材质规格的华体会游戏主页 、柱状活性炭、颗粒活性炭、废气处理活性炭等产品。

免费咨询热线
136-1277-7675臭氧活性炭技术是一种用于去除水中有机物的高效方法。臭氧具有强氧化作用,能迅速将有机物氧化分解为无机物,同时活性炭具有极强的吸附能力,能有效地吸附水中的有机物。
臭氧活性炭技术常常用于处理水中的难降解有机物,如印染废水、制药废水、污泥渗滤液等。处理方式主要是将水通过臭氧接触器,在臭氧气氛下使水中的有机物上升到最高氧化度,然后在活性炭的吸附作用下去除水中有机物,从而达到净化水质的目的。
臭氧活性炭技术相比传统的水处理方法,具有高效、快速、安全、环保等优势,能有效去除水中的有害物质,达到净化水质的目的。因此,在现代水处理领域,臭氧活性炭技术成为了一种重要的水处理方法,正在得到越来越广泛的应用。

臭氧与活性炭在一定条件下会发生反应。臭氧是一种具有氧化性的气体,在空气中可以通过电晕放电、紫外线辐射等多种方式生成。而活性炭则是一种优良的吸附材料,可以吸附多种有机物质和气体,具有很强的净化能力。
研究表明,在臭氧气氛中,活性炭表面会形成一层臭氧氧化生成的氧化物,这种氧化物具有更强的吸附和催化能力,可以有效地分解和去除空气中的有害物质和异味。此外,在一些应用场合中,臭氧还可以被用来制备臭氧活性炭催化剂,以提高催化效率和降低催化剂的用量。
需要注意的是,臭氧具有一定的毒性和危险性,需要在专业人员指导下正确使用和处理,以免对人体和环境造成不良的影响。同时,活性炭的使用也需要根据不同的应用需求和环境条件进行选择和调整,以确保其最佳的吸附和净化效果。

活性炭是一种由天然或合成有机材料制成的多孔材料,在工业中广泛应用于吸附、分离、净化等方面。那么,它是单质还是混合物呢?
从化学角度上讲,活性炭不是一种单质,而是一种混合物。这是因为活性炭的制备过程中,通常需要用到多种物质,如木材、椰壳、煤、石油焦等原料。这些原料在高温、缺氧的环境下被热解,生成含碳的物质,再通过物理或化学方式活化而制成活性炭。因此,活性炭中不仅含有碳元素,还可能含有其他元素,如氧、氢、氮等。
另外,活性炭的制备条件也会影响其物理、化学性质的不同。例如,制备时加入的原料种类、比例、热解温度和时间等因素会影响活性炭的孔隙结构、比表面积和吸附能力等性质。因此,不同制备条件下的活性炭也可以视为是不同的混合物。
综上所述,活性炭是一种混合物,其构成和性质受多种因素的影响。

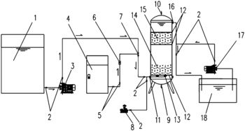
臭氧活性炭深度处理工艺是一种先进的水处理技术,通过将臭氧与活性炭结合,可以有效去除水中的有机物和微污染物。臭氧具有极强的氧化能力,可以氧化并分解有机物,而活性炭则可以吸附水中的微污染物和余氯等物质。
该工艺的主要流程包括:进水→氧化池→深度过滤器→活性炭吸附器→出水。将水进入氧化池中,在氧气的作用下产生臭氧,将水中的有机物氧化分解。接着,经过深度过滤器,去除水中的悬浮颗粒和沉淀物。进入活性炭吸附器后,水中的微污染物和余氯将被活性炭吸附,最终得到清澈透明的出水。
臭氧活性炭深度处理工艺具有处理效果好、处理速度快、运行稳定和节能环保等优点。该工艺可广泛应用于饮用水、工业水和废水处理等领域,是一种高效、环保的水处理技术。
广东鑫邦活性炭有限公司致力专注于柱状活性炭、颗粒活性炭、粉状活性炭、华体会游戏主页 生产与批发;广泛应用在:垃圾焚烧厂、黄金提取、工业废水处理、污水处理、废气处理、空气净化、喷漆烤漆房等Powered by EyouCmsCopyright © 2002-2021 HTH电竞官方下载 版权所有 粤ICP备2021087261号