欢迎来到广东鑫邦活性炭生产厂家!本公司主营各种材质规格的华体会游戏主页 、柱状活性炭、颗粒活性炭、废气处理活性炭等产品。

免费咨询热线
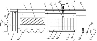
136-1277-7675水处理活性炭滤池是污水处理厂中常用的处理装置之一,其运用活性炭作为过滤介质,能够有效地去除污水中的有机物、异色物和臭味,提高下一级处理工艺的稳定性和处理效果。
在污水处理过程中,水处理活性炭滤池通常设置在预处理阶段或深度处理阶段,其主要作用是去除水中的颗粒物和有机物质。水经过过滤器后,经过吸附材料的约束和填料的反射,污染物分子分离并留在吸附材料的表面,达到净化水质的目的。
该装置具有除臭、净化、防止滞留、降低污染物量、减少池塘的清洗次数等特点,并且装置可以翻转清洗,达到良好的清洗效果。然而,因为活性炭是一种易受到中毒的材料,所以定期更换或者再生活性炭至关重要,这既可以降低运营成本,也可以避免出现负面的影响。
水处理活性炭滤池的出现,将有效地提高污水处理的效果和质量,满足人们日益增长的水资源需求,推动城市化进程。

污水处理厂的活性炭吸附工艺是一种常用的水处理技术。活性炭是一种高度多孔的固体材料,其开放孔道结构提供了大量的表面积,可以吸附污染物和有害物质,如有机物和重金属离子。应用活性炭吸附工艺可以有效地去除污水中的有机物和其他杂质,提高水质水量,并达到国家排放标准。 活性炭吸附工艺的原理是通过物理吸附和化学吸附的作用将污染物分子吸附到活性炭的孔或表面上,使得水中的有机物和污染物质得到有效的吸收和去除。同时,活性炭还可以利用其特殊的电化学性质,吸附有害离子,如重金属离子,使其不易溶于水中,从而减少水中有害物质的含量。 活性炭吸附工艺在污水处理中应用非常广泛,常用于城市污水处理厂、饮用水处理厂、工业废水处理等领域,可为人们创造一个更清洁,更健康的生活环境。

污水处理厂的提升泵是用于将污水从低水平向高水平提升的一种泵,它在整个污水处理系统中发挥着重要的作用。
污水处理厂的提升泵可以有效地将污水从污水井或收集池中提升到更高的处理单元,如调节池、沉淀池和生化池等。这样可以确保污水处理过程中的顺畅运行和高效处理。
提升泵也可以将处理后的水再次提升到更高的位置,如农田、水库或海洋等,以达到有效利用资源和保护环境的目的。
此外,提升泵还可以根据处理厂的实际情况进行调整和优化,以达到更准确的水位控制和更高效的能源利用效果。
综上所述,污水处理厂的提升泵起着重要的作用,它不仅提高了污水处理的效率,还帮助我们保护了环境资源。

污水处理高效沉淀池是一种常见的污水处理设备,其原理是通过沉淀作用使污水中的悬浮物与沉积物分离,达到净化污水的目的。
高效沉淀池通常采用三阶段式设计,包括初级沉淀、中级沉淀和末级沉淀。在初级沉淀阶段,大部分悬浮物会被沉淀下来,中级沉淀阶段则帮助去除更小的悬浮物,最后的末级沉淀阶段则能够去除微小颗粒物和浮游菌。
相对于其他污水处理设备,高效沉淀池具有净化效率高、运行成本低、维修保养简单等优点。而其适用于工业、农业及城市污水处理行业,已成为一种重要的污水处理设备。
污水处理高效沉淀池在净化环境、保护水资源方面发挥着重要的作用。未来,随着社会的发展,高效沉淀池将更加完善和广泛应用。
广东鑫邦活性炭有限公司致力专注于柱状活性炭、颗粒活性炭、粉状活性炭、华体会游戏主页 生产与批发;广泛应用在:垃圾焚烧厂、黄金提取、工业废水处理、污水处理、废气处理、空气净化、喷漆烤漆房等 Copyright © 2002-2021 HTH电竞官方下载 版权所有 粤ICP备2021087261号