欢迎来到广东鑫邦活性炭生产厂家!本公司主营各种材质规格的华体会游戏主页 、柱状活性炭、颗粒活性炭、废气处理活性炭等产品。

免费咨询热线
136-1277-7675印染污水处理是制造行业中重要的环保措施,其中使用活性炭是一种有效方式。目前在印染污水处理中,常用的活性炭有三种:粉状活性炭、颗粒状活性炭和复合活性炭。
粉状活性炭通过粉碎后,表面积增大,更易于吸附有机物。但由于粉末易于飞扬,投入污水处理中不方便,需要加装特殊的设备,防止污染环境。
颗状活性炭是将粉状活性炭压缩成带孔的颗粒,用于制成过滤、吸附设备等。颗粒状活性炭对处理后的水质优良,不影响环境。
复合活性炭是将不同功能的活性炭材料复合在一起,有机物吸附效果好、耐用,适用于多种污水处理场合,且易于更换。
印染污水处理用的活性炭种类有粉状活性炭、颗状活性炭和复合活性炭。应根据实际处理情况,选用适当的活性炭形态,以达到最好的净化效果。

污水处理是指通过一系列工艺将城市或工业生产中产生的废水经净化处理达到可排放或再利用的标准。在处理过程中,活性炭吸附工艺是一种常用的净化工艺。
活性炭是一种炭素材料,具有很强的吸附作用,能有效地吸附有机物质和重金属离子。在污水处理厂中,利用活性炭吸附工艺可以去除废水中的难降解有机物、色素、异味物质等。
活性炭吸附工艺具体步骤为:将活性炭填充于过滤器中,废水经过过滤器后,其中的有机物、色素等通过化学反应与活性炭表面的微小孔隙产生吸附作用,从而达到净化目的。随着活性炭吸附物质的增多,其中的孔隙也会被堵塞,影响吸附效果,因此需要周期性清洗和更换活性炭。
污水处理厂的活性炭吸附工艺通过活性炭的吸附作用,可有效去除废水中的有害物质,为我们的环境保护做出了一定的贡献。

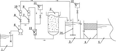
活性炭处理废水是一种常见的工艺方法,主要用于去除废水中有机污染物和有毒物质。其处理废水的工艺流程主要包括以下几个阶段:
第一阶段:预处理。首先需要对废水进行初步的处理,去除其中大颗粒物质和悬浮物。这一阶段通常采用物理处理方式,如沉淀、过滤等。
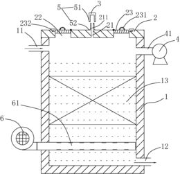
第二阶段:吸附。待废水过预处理后,将进入吸附阶段。此时,将活性炭加入废水中,通过活性炭的微孔和表面,将废水中的有机物质和有毒物质吸附到活性炭上。
第三阶段:反洗。完成吸附后,需要对活性炭进行反洗,去除吸附于其表面的污染物质。反洗采用的主要方式是水冲洗和空气吹洗等。
第四阶段:再生。为了使活性炭重复使用,需要对其进行再生处理。再生的方法包括物理再生和化学再生等。
经过以上阶段的处理,最终废水中的大部分有机污染物和有毒物质已被去除,达到排放标准。活性炭处理废水的工艺流程简单易行,适用于各种类型的废水处理。

活性炭是一种具有高度孔隙结构和极强吸附能力的物质,因此在污水处理中应用广泛。它的主要作用是去除水中的有机物和异味。
在污水处理过程中,活性炭可以作为一种吸附剂,能够迅速吸附水中的有机物和其他污染物,大大提高了水的净化效率。此外,活性炭还能够去除水中的异味,让水变得更加清新,更适合人类使用。
活性炭的吸附能力是其最大的特点之一,因为其具有极高的比表面积,因此可以吸附更多的污染物。活性炭还可以再生,将吸附的污染物通过洗涤或加热等方法去除,从而使其具有再利用的价值。
活性炭在污水处理中具有重要的作用,可有效去除污染物和异味,提高水的质量和净化效果,其应用前景非常广阔。
广东鑫邦活性炭有限公司致力专注于柱状活性炭、颗粒活性炭、粉状活性炭、华体会游戏主页 生产与批发;广泛应用在:垃圾焚烧厂、黄金提取、工业废水处理、污水处理、废气处理、空气净化、喷漆烤漆房等 Copyright © 2002-2021 HTH电竞官方下载 版权所有 粤ICP备2021087261号