欢迎来到广东鑫邦活性炭生产厂家!本公司主营各种材质规格的华体会游戏主页 、柱状活性炭、颗粒活性炭、废气处理活性炭等产品。

免费咨询热线
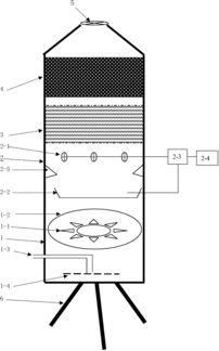
136-1277-7675污水厂活性炭臭气吸附塔是一种用于污水处理厂的空气净化设备,主要用于去除污水处理厂中散发的臭气。该设备通过活性炭的吸附作用,将空气中的臭气物质吸附到活性炭表面上,达到净化空气的效果。
污水厂活性炭臭气吸附塔具有设备结构简单、操作方便、净化效果好等优点,因此在污水处理厂中得到了广泛的应用。同时,该设备也需要定期更换活性炭,以保证其吸附效果。
在使用污水厂活性炭臭气吸附塔时,还需注意设备的安装和排气管道的布置,确保设备的正常运行。此外,应对设备进行定期维护和清洗,以延长其使用寿命。
污水厂活性炭臭气吸附塔在污水处理厂中具有重要作用,是一种重要的空气净化设备。

污水处理厂是处理城市污水的重要设施,其主要任务是减少污水中的有害物质,并将其转化为对环境不构成威胁的水体。而在污水中有些难以降解的有机物质,如有机溶剂、农药、药物等,需要采用特殊处理方法。
其中一种常用的方法是活性炭吸附工艺。活性炭是一种具有高表面积、孔隙结构和化学稳定性的材料,被广泛用于污水处理厂中的污水净化过程。在活性炭吸附工艺中,污水首先经过初级处理,去除一部分固体颗粒,并调节pH值;然后通过活性炭吸附池,将污水中的有机物质吸附到活性炭表面上,去除大部分难以降解的有机物质;最后通过二次处理,对水质进一步提升,达到国家的相关标准。
活性炭吸附工艺不仅可以处理难以降解的有机物质,还可以去除溶解性重金属等其他污染物质,具有高效、可靠、可控的优点,成为污水处理厂的重要工艺之一。

污水处理厂是为了处理城市生活污水而建设的,处理污水的同时也会产生大量的废气排放。这些废气中含有大量的有害物质,如果不进行处理,就会给环境带来很大的污染和危害。因此,污水处理厂废气收集处理非常重要。
污水处理厂废气的收集需要进行科学规划和设计。应根据污染物种类、产生量以及工艺特点等因素,确定合适的收集方式和设备。常用的方式有抽风和集中管道收集等。同时,还需要建设废气处理设备,如氧化炉、吸附剂去除设备等,对废气进行净化处理,使排放得到控制和减少。
进行污水处理厂废气收集处理可以达到以下目的。一方面,可以降低污染物排放量,减少对环境的污染和危害;另一方面,废气净化后可以回收并利用,降低污水处理厂的运行成本,实现资源化利用。
污水处理厂废气收集处理是一项非常重要的工作,可以减少污染,在环保和经济效益方面都有着重要的意义。

工业污水处理活性炭是一种常见的水处理剂,它的主要作用是去除水中的有机污染物和重金属离子。活性炭具有巨大的内表面积和孔隙结构,可以吸附水中的有机分子,从而使污染物质得以去除。
在工业生产中,许多工艺过程都会产生大量的废水,这些废水中含有大量的有机物和重金属,如果直接排放到自然界中,不仅会危害环境,也会对人类健康造成威胁。使用活性炭来处理污水,既可以减轻环境压力,又可以保护人类健康。
工业污水处理活性炭使用方便、效果卓著,逐渐得到了广泛的应用。目前,许多工业企业都已经采用了活性炭处理污水的技术,并取得了良好的效果。未来,活性炭技术还将继续得到发展,并与其他先进的水处理技术共同应用,为保护水资源、改善环境提供更好的技术支持。
广东鑫邦活性炭有限公司致力专注于柱状活性炭、颗粒活性炭、粉状活性炭、华体会游戏主页 生产与批发;广泛应用在:垃圾焚烧厂、黄金提取、工业废水处理、污水处理、废气处理、空气净化、喷漆烤漆房等Powered by EyouCmsCopyright © 2002-2021 HTH电竞官方下载 版权所有 粤ICP备2021087261号